AKIPRESS.COM - The images tell a heartbreaking story: Zika’s calamitous attack on the brains of babies — as seen from the inside, NYTimesreports.
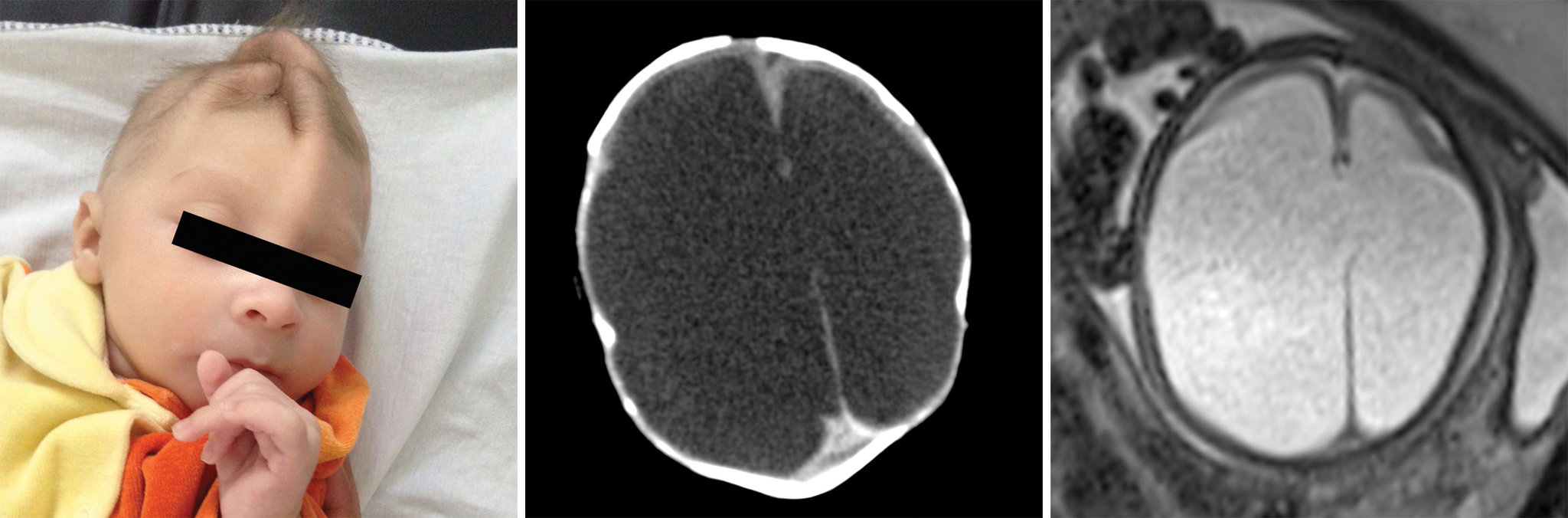
A study of brain scans and ultrasound pictures of 45 Brazilian babies whose mothers were infected with Zika in pregnancy shows that the virus can inflict serious damage to many different parts of the fetal brain beyond microcephaly, the condition of unusually small heads that has become the sinister signature of Zika.
The images, published Tuesday in the journal Radiology, also suggest a grim possibility: Because some of the damage was seen in brain areas that continue to develop after birth, it may be that babies born without obvious impairment will experience problems as they grow.
“It really brings to the forefront the importance of truly understanding the impact of Zika virus and the fact that we need to follow children who not only are exposed to Zika in pregnancy, but even those who don’t appear to have any complications at birth,” said Dr. Catherine Y. Spong, chief of the pregnancy and perinatology branch of the Eunice Kennedy Shriver National Institute of Child Health and Human Development, who was not involved in the study.
Most of the babies in the study were born with microcephaly, although three were not. Each also suffered other impairments, almost all of which emerge earlier than microcephaly because a smaller head is really a consequence of a brain that has failed to develop fully or has been damaged along the way, experts said.
“The brain that should be there is not there,” said Dr. Deborah Levine, an author of the study and a professor of radiology at Harvard Medical School. “The abnormalities that we see in the brain suggest a very early disruption of the brain development process.”
The scans show the range of Zika’s brain targets, some of which experts knew about, including the corpus callosum, which facilitates communication between the two hemispheres; the cerebellum, which plays a significant role in movement, balance and speech; and the basal ganglia, which are involved in thinking and emotion.

